用臭氧陶瓷膜組合工藝處理污水研究 膜工藝在飲用水處理中的應用日益增多[1-2],其對水中顆粒物有很好的分離能力,膜出水濁度一般在0.2NTU 以下,在水處理中有很大的應用潛力.但實踐證
閱讀量:9762020
污水廠二級出水臭氧化特性分析 摘要: 采用液相色譜熒光檢測器將三維熒光圖譜與凝膠色譜分子量分布相結合,對污水處理廠二級出水溶解性有機物(EfOM)的臭氧化反應特性進行了研究
閱讀量:8072020
芯片制造行業中的臭氧用途 二十多年來,半導體行業研究人員已經研究了將臭氧用于晶片清潔和抗蝕劑剝離應用的情況。為了降低化學藥品的消耗和處置成本以及提高清潔效率,使用臭
閱讀量:18152020
臭氧氧化處理養豬場厭氧沼液 實驗摘要 近年來,我國規模化養豬業迅速發展,隨之產生的豬場廢水,由于其具有排放量大、固液混雜、有機物濃度高及氨氮含量高等特點,已成為一種
閱讀量:12032020
臭氧實驗一體化裝置 北京同林臭氧實驗一體化裝置 包括臭氧控制器、臭氧發生器、臭氧檢測儀、制氧機、臭氧尾氣破壞裝置 。臭氧控制器運用復雜PID算法,對臭氧進行控制精確;采用
閱讀量:16392020
臭氧滅活水中銅綠微囊藻影響因素研究 為研究臭氧在水體中殺滅銅綠微囊藻的效果,利用中性紅染色法探討了不同因素(臭氧投量、作用時間、pH 值、溫度、渾濁度、初始藻細胞密度等
閱讀量:9842020
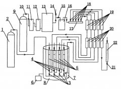
污泥臭氧化實驗裝置設計 1、臭氧發生器 臭氧發生器( 3S-A3 型,北京同林科技有限公司)以環境空氣為氣源,經高頻放電產生臭氧.試驗中保持進氣流量 0.2L/min,通過調節電流控制出口臭氧濃度
閱讀量:9262020
臭氧微納米氣泡在地下水修復中的應用 臭氧由于其強大的氧化能力而被廣泛用于水處理。然而,由于臭氧相對較低的溶解度和在水相中的快速分解,臭氧在地下水修復中的效率受到限制
閱讀量:12952019
實驗用臭氧降解土壤中有機物的實驗裝置 申請人: 華北電力大學(保定) 發明人: 陳嵐 權宇珩 趙鵬 鄒單單 本發明涉及一種實驗室用吳氧降解土壤中有機物的實驗裝置,結構組成為:
閱讀量:10382019
臭氧脫色實驗流程和實驗步驟 臭氧已被廣泛應用于水處理行業,效果也非常顯著。本文介紹臭氧脫色實驗的目的,實驗裝置、實驗流程和實驗步驟。 一、實驗目的 1、了解臭氧制備的工
閱讀量:22862019
臭氧水處理消毒效果的影響因素 臭氧在用于飲用水消毒時具有極高的殺菌效率,但在污水消毒時往往需要較大的臭氧投加量和較長的接觸時間。影響消毒效果的主要因素總結如下。 1
閱讀量:15302019
臭氧在工業廢水處理的應用 臭氧用于廢水處理有許多用途和廣泛的應用。常見的臭氧廢水處理應用: 廢水消毒 從水中去除顏色 污泥減少 從廢水中去除異味 有毒物質的降解 在城市廢水
閱讀量:14182019
臭氧如何去除井水中硫化氫 在井水中有機物隨著時間的推移而分解形成硫化物和硫化氫,H2S對水產生難聞的氣味和味,有人將氣味描述為臭雞蛋氣味,閾值為0.0011毫克/升。含有少量1
閱讀量:26462019
Copyright ? www.szxfdz.com.cn 北京同林臭氧實驗網 版權所有 非商用版本 備案號:京ICP備17038069-1號